纳米碳黑的制备及其对聚酯纤维染色的性能研究
郑敏 李剑刚 蔡中雷 (苏州大学材料工程学院,苏州,215021)
【摘要】采用蜡烛燃烧法自制了粒度细小、分布均匀的纳米碳黑,通过喷雾法对其实施表面改性,从而获得了分散稳定性良好的纳米碳黑水溶液分散体系,研究了纳米碳黑分散体系对聚酪纤维的染色性能以及纳米碳黑染色织物的抗紫外性和抗静电性,同时探讨了纳米碳黑与分散染料的染色相容性。实验结果表明:纳米碳黑分散体系对经过改性剂Ep处理的聚醉纤维具有较高的上染性,而且和分散染料具有较好的染色相容性,此外纳米碳黑染色织物抗紫外性和抗静电性均有明显提高,
【关键词】纳米碳黑;聚酪纤维;染色
一般来说,非水溶性颜料要对纤维着色必需采用特殊的加工工艺,如涂层整理、涂料印花等,并借助于高分子聚合物在纤维表面成膜的性能,最终将颜料黏附在纤维表面,但是由于这种在纤维表面形成了一层高聚物薄膜,严重影响了织物的手感和透气性。因此寻找合适的颜料和工艺使得颜料能象通用染料一样上染纤维一直是人们的向往和追求,特别是在环保意识日渐增强的今天更具有重要的现实意义。
纳米材料由于具有多种传统材料无法比拟的优越性,已经成为传统产业实现性能升级的首选产品[1-2],其中纳米颜料由于尺寸小、比表面大、着色力强、化学稳定性好、无毒等多种优点,为非水溶性颜料上染纤维的可行性提供了新的契机,而且纳米颜料的纳米效应可使得染色后的织物同时获得多种功能,如抗紫外线、抗菌、保暖、抗静电等[3]。目前有关纳米颜料对纤维染色性能的研究报道较少,本文通过自制纳米碳黑颜料并对其实施表面改性,获得了分散性稳定的纳米碳黑水分散体系,使得高温高压下纳米碳黑直接上染聚酯纤维成为可能,并探讨了其染色性能以及其它性能。
1 实验部分
1·1 纳米碳黑及其改性体的制备
采用蜡烛燃烧法制备纳米碳黑,采用喷雾法对碳黑表面实施改性,主要是改善纳米碳黑在水中的
l·2 纳米颜料分散液的制备
将上述方法制备的纳米碳黑在超声波 (AS102OOADT,Timjin Automatic Science lnstrument Co.,Ltd)作用下分散在一定量的水中,加入适量分散剂和粘合剂,配成不同浓度的碳黑分散体系,通过静置分层法观察分散体系的稳定性,以一周内无分层现象作为稳定分散体系的衡量标准。
1·3 纳米颜料对聚酯纤维的染色
染色前纤维表面改性:采用改性剂EP(乙二胺和邻苯基苯酚钠的复合物)、碱NaOH在不同条件下对纤维进行表面改性。常规高温高压染色:染色在红外染色机 (台湾瑞比)中进行,浴比1:50,染色温度
1·4 结果表征
(1)纳米碳黑的表征:用美国 4L1纳米碳黑直接上染聚酷 BROOKHAVEN公司生产的9OPLUS型激光粒度分析仪分析粒子的大小和分布,采用JEM-2OOCX透射电镜观察粒子的大小和形貌,采用Perkin-Elmer683型红外光谱仪分析粉体化学组成,波长范围为4000-40Ocm-1样品用KBr压片法测定,分辨率为
(2)染色性能表征:采用American Hunter Lab Cor.ULTRASCAN XE型测色配色仪测染色后纤维的K/S值,D65光源,100观察者。
(3)其它性能表征:采用静电测试仪器(StaticHonestmeter S-5109型,外加电压5kv)测染色织物的抗静电性;采用褪色法测染色织物的抗紫外性。具体操作如下:以亚甲基蓝染色的棉布作为基布,将纳米碳黑染色后的织物和其它对比织物分别遮盖,基布,在同样的太阳光下照射同样的时间,分别测
RCI=(K/S)t√(K/S)0×100[%]
其中(K/S) t——纳米染色织物遮盖后经过照射的基布的K/S值,(K/S)0——原基布的K/S值。
2 结果和讨论
2·1 纳米碳黑的制备及其改性
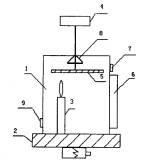
碳黑的制备可分为热氧化分解法和热裂解法两大类,比较热裂解法而言,前者产率高,质量好,条件容易控制。热氧化分解法按照确定气流的标准进一步细化为在扩散流中生成的碳黑和在湍流中生成的碳黑。灯法制碳黑也叫蜡烛燃烧法制碳黑它是在扩散流中生成的,火焰由焰心、内焰、外焰等几层组成,在最外层,从周围空气获得充足的氧,含碳物质几乎全部燃烧,同时,生成的热使蜡烛熔化或汽化形成焰心,内层在缺氧的条件下由于氧的扩散速率低于分解速率,形成的碳粒引起火焰发光,一般情况,分解得到的碳黑一达到含充足氧气的外焰就燃烧,但如果火焰接触到冷物体,火焰反应温度下降,燃烧将减少到炭黑不再燃烧的程度,且沉积在冷物体的表面上,这个过程是一个开放的系统,由于来自周围空气的氧气能自由进入扩散的火焰,氧气的缺乏仅仅是局部的、暂时的。不同方法制备产品的性能有一定差异。通过对碳黑结构和性质的分析以及实际需求,本研究以石蜡为原料,设计了图l所示的灯法制碳黑装置。采用上述装置可获得粒径在9-4Onm间的碳黑,由于采用了喷水装置,使得吸附板的温度能迅速均匀降低,因此得率较高,但是由于纳米碳黑具有巨大的比表面积,极容易团聚,因此给纳米碳黑的染色带来极大的困难,制备分散稳定性好的纳米碳黑水溶液分散体系是纳米碳黑上染织物的前提和关键。
通过对纳米碳黑的表面分析可知,碳黑主要成分是碳,含碳量 90%-99%,其次为氧,为0.1-0.9%,其余的就是氢、氮和硫等元素。这些元素主要来自于碳黑的原料,在碳黑生成过程中被带入碳黑
|
| 1、制备室 2、可升降基座 3、蜡烛 4、电动机 5、吸 附板 6、碳黑收集槽 7、刮刀 8、喷水器 9、透气孔 | |||||
| 图l纳米碳黑的制各装置示意图 | ||||||
|
| ||||||
| 图2 纳米碳黑的红外光谱图 | ||||||
|
|
| |||||
| 修饰前(a) (平均粒径164.0 nm) | 修饰后(b) (平均粒径26.0 nm) | |||||
| 图3 修饰前后的碳黑在乙醇/水溶剂中超声分散的粒度分布 | ||||||
|
|
| |||||
| 修饰前 (50000×) | 修饰后(100000×) | |||||
| 图4 修饰前后的碳黑在乙醇/水溶剂中超声分散的透射电镜 | ||||||
本实验采用喷雾法在纳米碳黑的制备过程中对其实施表面改性,一方面通过表面活性剂的包覆作用改变纳米碳黑粒子的表面电荷分布,增强纳米粒子间的静电排斥作用,另一方面通过大分子结构在纳米粒子表面的吸附,产生并强化立体保护作用。 图3和图4所示为改性前后纳米碳黑乙醇/水溶剂分散体系中粒子大小分布情况和形貌。
从图3可以看出,修饰前粒度分布不均匀,出现多峰,峰形较宽,平均粒径为164.0 nm,修饰后为单峰,峰形较窄,平均粒径为26.0 nm,这说明表1纳米碳黑对涤纶的染色性能表面活性剂SPES对碳黑具有较好的分散效果。图 4的电镜图所得结果与粒度分析是一致的,修饰前的电镜图中可以看到碳黑出现严重的团聚现象,而修饰后分散性较好,没有明显的团聚体。这与表面活性剂SPES的化学结构有关,它是一类分子量较大而且结构中含有多个苯环、羟基、羟甲基等基团的阴离子化合物,易与碳黑粒子表面醌、氢醌或羰基等基团进行结合,使得碳黑表面带一定电荷,斥力和水化能力增强,另外磺酸基团的亲水性也增强了碳黑粒子间的斥力,而且吸附在碳黑表面的 SPES大分子结构同时还具有一定的位阻效应,阻碍了碳黑粒子间的聚集。
2·2 涤纶织物的表面改性及其对染
2·2·1 涤纶织物的表面改性与染色
涤纶属于疏水性纤维,分子排列比较紧密,分散染料上染涤纶时,染料主要以分子状态进入纤维的无定形区,一般需要在高温高压下染色才能获得较快的上染速度和较高的染色深度,而对于水不溶性纳米碳黑来说,单靠高温高压不足以使得纳米粒子进入纤维内部,因此一方面必须对纤维表面进行改性以增加其与纳米碳黑的亲和力,另外需要选用某些对涤纶纤维有一定增塑作用的物质来加速无定形区分子链段的运动,产生足够大的瞬间孔穴有利于碳黑粒子的上染。表面改性剂EP是一类兼具上述两种功能的混合溶剂,表1所示为纳米碳黑对涤纶的染色情况。
从表1可以看出,改性前后碳黑对织物的上染情况有明显不同,总的来说,改性后可大大提高碳黑上染量和表观得色深度,尤其是改性剂EP效果更为显著,因为改性剂EP对涤纶同时具有表面刻蚀作用以及增塑作用,而NaOH仅具有刻蚀作用,而且对纤维强力有较大损伤,这从织物的失重可以看出。从表1还可以看出,改性剂EP处理后染色匀染性较好,这是因为改性剂EP的碱性较温和,对纤维表面刻蚀作用也比较均匀,因而有利于碳黑均匀上染。
| 改性条件 | 染色K/S值 | 织物上碳黑含量g/g | 失重% | 匀染性△E |
| 未改性 | 2.379 | 0.02 | 0 | 0.779 |
| NaOH改性 | 5.255 | 0.07 | 12.5 | 0.379 |
| 改性剂EP改性 | 8.696 | 0.11 | 5.7 | 0.124 |
注:改性剂浓度
2·2·2 不同改性工艺对碳黑染色的影响
实验表明,不同程度的改性对碳黑上染有一定的影响,并非改性程度越大越有利于上染,图5所示为不同改性工艺参数对染色织物表观颜色探度的影响。
从图5(a)可以看出,改性温度对碳黑上染有很大影响,温度太高不利于碳黑上染,改性剂Ep浓度的影响随温度不同呈现不同趋势,在较高温度下,随改性剂浓度增大K/S值呈现下降趋势,尤其是当浓度大于
|
|
|
| (a)不同改性剂EP浓度和温度对织物表观深度的影响(改性时间5Omin) | (b)不同改性时间和温度对织物表观深度的影响(改性剂EP浓度 |
| 图5 不同改性工艺参数对染色织物表观颜色深度的影响 |
纳米碳黑染色虽然着色力强,色光纯正,但是白于碳黑色调比较单一,如果能用其它颜色的分散染料来调整色光,将更有利于碳黑染色的普及和推广,为此本实验探讨了碳黑和分散染料的染色相容性,结果如图6所示。
|
|
| l-0.5%碳黑,2-0.5%碳黑和3%分散黑3-3%分散黑 |
| 图6 所示为碳黑和分散染料的染色相容性 |
从图6可以看出,碳黑和分散染料同时上染涤纶时上染率略有下降,这说明碳黑和分散染料具有较好的染色相容性,因此可以用不同颜色的分散染料来调整色光,另外从图6还可以看出,碳黑染色织物对可见光的吸收为广谱吸收,无最大吸收波长,而且表观颜色深度明显高于分散染料染色织物,这也证实了纳米碳黑的着色力强,染深性好,从而可解决涤纶染不黑的难题。
采用静电测试仪以及色布褪色法测试了碳黑染色织物的抗静电性以及抗紫外性,结果如表2和表3所示。
从表2可以看出,纳米碳黑染色后的织物具有较好的抗静电性,仅次于棉布的抗静电性,大大高于分散黑染色后的织物,这与纳米碳黑的表面效应以及碳黑表面的基团有关,所谓抗静电剂一般是指能提高纤维表面亲水性的物质,碳黑表面的羧基、醌基、氢醌或羰基等可以与水形成氢键结合,且以此为极性中心进一步与水结合并保持其连续性,纳米材料巨大的比表面积更加强了这种抗静电效果。从表3可以看出,0.5%纳米碳黑染色后的织物抗紫外效果优于3%分散黑染色的织物,这是因为碳黑为广谱吸收,对全波段的光都具有较强的吸收作用,而纳米碳黑对光的吸收效果更强于普通碳黑
表2 不同织物试样的抗静电性
| 试样 | 未染棉布 | 未染涤纶 | 分散黑染涤纶3% | 碳黑染涤纶0.5% |
| 摩擦电压u(v | 800 | 3100 | 2200 | 1000 |
| 半衰期1/2(s) | 1 | >70 | 27.5 | 3.5 |
表3不同钮物试样的抗紫外性
| 试样 | 未染涤纶 | 分散黑染涤纶3% | 碳黑染涤纶0.5% |
| (k/s)0 | 4.7616 | 4.7616 | 4.7616 |
| (k/s)t | 2.1781 | 3.0412 | 4.509 |
| RCl,% | 45.74 | 63.87 | 94.69 |
3结论
通过以上实验数据及其分析可以得出如下结论:采用喷雾法改性的纳米碳黑具有较好的分散稳定性。纳米碳黑对经过改性剂EP处理的聚醋纤维具有较好的上染性。而且和分散染料具有较好的染色相容性,可采用不同颜色的分散染料来调整色光。纳米碳黑染色后的织物抗静电性和抗紫外性均有明显提高。
参考文献
[1] 张立德,纳米材料研究的现状和发展趋势,96中国材料研讨会,功能材料1-2
[2]孙刚,纳米颜料颗粒的纺织品染色,专题讲座,东华大学,2002年
[3] Yan-kelu, Zhang-hua, Chen-xiaoli, Sun-gang.The dyeing of polyester fabric with carbon black nano-particles. J. of Chemical Industry and Engineering(china),2002,53(ll);1-3
[4]李炳炎主编,炭黑生产与应用手册,化学工业出版社,北京,2000年
相关信息 







推荐企业
推荐企业
推荐企业